三年开了OD体育官网- OD体育APP下载- 世界杯指定投注平台4000家门店来看企业扩张背后商标布局的智慧
栏目:OD体育注册 发布时间:2026-01-06

  od体育官方网站,od体育app下载,od体育最新登录网址,od体育平台,od体育app,od体育靠谱吗,od体育,od体育官网,od体育买球,od体育世界杯,od体育注册,od体育登录,od体育入口近年来,连锁零食量贩店肉眼可见的多了起来,随处可见一条街道四五家店扎堆。在众多零食店里最耀眼的莫过于赵一鸣了,2019年成立之初,赵一鸣也是从一家小炒货店起步,然后拓展逐步涉足零食领域,2021年起赵一鸣开始加速扩张,竟在三年里开出了4000多家门店,布满各个城市的大街小巷,门店规模与品牌知名度由此飙升。

  不过,随着规模的日益扩大,背后也面临着诸多考验与挑战,而商标布局便是其需要重点考量的关键一环,接下来咱们就一起深入了解下赵一鸣在商标布局方面有着怎样的举措和考量吧。

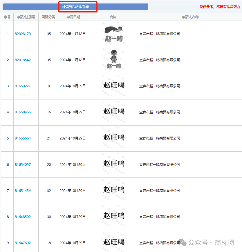
  据查询,宣春市赵一鸣商贸有限公司名下目前共计申请246件商标,涉及到肉食蜜饯(29类)、方便食品(30类)、新鲜果蔬(31类)、啤酒饮料(32类)、广告销售(35类)等核心类别;还有多个防御商标。从这些核心类别不难看出,赵一鸣不仅注重对自身主营零食产品相关类别的商标把控,像肉食蜜饯、方便食品等,以此来保障主打产品的品牌标识性;同时也将目光投向了如广告销售等领域,通过在这些类别注册商标,为品牌宣传推广等商业运营活动筑牢基础。

  值得注意的是,赵一鸣还十分重视防御商标的布局。其246枚商标中,“赵一鸣”商标仅有110枚,其余的全是防御商标。

  在如今的市场环境里,商标被抢注、被山寨的现象屡见不鲜,这对企业品牌的伤害是巨大的。而赵一鸣的防御商标就如同“守护盾牌”一般,守护着品牌权益。

  当其他不良商家想要打擦边球,利用相似商标混淆消费者视听、蹭热度的时候,防御商标就能发挥作用,让这些侵权行为无所遁形,有力地保护了品牌权益。而且,防御商标作为一种无形资产,即便企业自身暂时不使用,未来许可他人使用也能带来一定的经济收益,同时还为企业多元化发展提供了便利,为品牌后续拓展新的业务领域提前铺好了路,由此也能看出赵一鸣对商标保护的高度重视以及长远的品牌发展眼光。

  现代企业对商标需求越来越大,仅有一两件商标难以满足市场竞争的需求;商标的作用已经进化,不同商标有不同使用意图和市场作用,商标已经成为营销利器和竞争的武器;企业必须有敏锐的商标意识,发现商标的不同作用,了解商标保护规律,合理规划和布局商标。

  巨商科技服务有限公司(巨商网)成立于2019年,定位为以知识产权为核心的一站式创新创业服务平台。公司成立之初就立下了“让企业少走弯路,让员工成长幸福”的使命与初心,始终秉持“受人之托,忠人之事”的服务理念,始终执念以严谨思维去服务客户,做值得信赖的一站式企业服务平台。巨商分别在北京、西安、洛阳、成都、上海等地设置区域运营中心,搭建了200余人的专业顾问服务团队,整合孵化超过500项优质企业服务产品,赋能提升企业雇主品牌化、科技化、数字化水平,通过构建专业化赋能中台+区域运营中心体系,为企业雇主提供从企业创立、发展、壮大整个生命周期所需的各项专业服务。巨商立志成为中国最具价值的创新创业服务平台,系统性帮助企业雇主提升品牌形象、保护智慧成果、提高经营效率,助力企业由小变大、由大变强!

  知识产权保护在维护品牌识别与独特性、品牌形象与信誉、促进品牌增值与商业化、提升市场竞争力以及降低经营风险等多个方面至关重要。巨商集团拥有一支专业的商标品牌服务团队,为客户提供全流程解决方案,包括注册、维权、运营及战略规划。团队经验丰富,精通国内外法规,成功案例众多,助力企业提升品牌价值与市场竞争力,服务高效可靠,如有相关问题均可咨询。

  知识产权:商标注册(国内外)、商标交易(国内外)、商标案件、(撤三、异议、无效、复审等疑难杂症)、版权登记(美术、文字等)、专利(发明、实用新型、外观、转让)、知识产权托管、软件著作权登记、知识产权评估、知识产权质押、知识产权维权、专利导航、融资专利池建设、知识产权交易。

  工商财税:无区域公司核名、地图标注、执照遗失补办、灵活用工、工商财税代理记账、银行开户、高新专项审计、加计扣除审计、集团公司升级、公司注册/变更/转让/注销、地址异常解除、财务专项审计、一般纳税人认定、研发费用归集整理、税款清缴、报表审计。

  品牌孵化:LOGO设计、瓶型设计、画册设计、网站设计、项目策划、包装策划、产品策划、包装设计、VI全案设计、起名策划、网络优化、品牌全案、招商策划、项目计划书、招商大会。

  企业服务:企业信用修复、条形码申报、冠军代言、白酒定制、法律咨询、股权设计、、官文发布、400电话、非造人才库、新媒体运营、无形资产增资管理咨询、合同起草、央视广告、软文营销、海外独立站运营。

  互联网资质:互联网信息服务业务(ICP)、外商投资ICP/EDI、在线数掘处理与交易处理业务(EDI)、信息服务业务(SP)、互联网接入服务业务(ISP)、内容分发网络业务(CDN)、互联联网数揭中心服务(IDC)、增值电信业务、国内互联网虑拟专用网业务、网络文化经营许可证、互联网药品信息服务业务、动漫/音乐/直播网文。

  科技项目:国家高新技术企业申报服务、“双软”企业申报服务、国家科技型中小企业申报服务(科小)、“两化”融合贯标申报服务、研发费用税前加计扣除办理服务、老字号申报、企业研发中心科技贷咨询、省级研发平台申报、专精特新申报服务、非遗项目申报、重点群体退抵税项目。

  企业信用等级:AAA级信用企业、AAA级资信企业、诚信经理人/诚信企业家、AAA级质量服务诚信企业、AAA级重合同守信用企业、AAA级重服务守信用企业、AAA级重质量守信用企业、AAA级诚信经营示范单位、AAA级诚信供应商。

  许可资质:营业性演出许可证、出版物经营许可证、劳务派遣许可证、食品经营许可证、人力资源许可证、二类医疗排械经营备案、拍卖经营许可证、林草种子经营许可证、三类医疗器械经营许可证、广播电视节目制作许可证、烟草专卖零售许可证、道路运输经营许可证、建筑企业资质。

  信息资质:CMMI软件力成熟度模型集成(三-五级)、CCRC信息安全服务资质八大类、ITSS信息技术服务标准(一到四圾)、CS优息系统建设和服务能力评估(CS1-CS5级)、CCID信息系统服务商交付箭力评估(四到一级)、涉密信息系统集成资质(集成/开发/安监)、DCMM数据管理能力成熟度评估模型、两化融合管理体系。

  绿碳资质:温室气体核查声明、产品碳足迹证书、绿色供应链认证证书、ESG报告、安全可靠性评价报告、能源消耗评价报告、碳中和证书、零碳工厂认证证书、绿色企业认证证书、安全评价报告、绿色工厂评价报告、企业社会责任报告、三废报告。

  军工资质:国军标:武器装备质量管理体系认证、保密资质(武群装备科研生产单位二级保密资格证书)、承制资格A类(军选军用),B类(军选民用)、科研生产许可证(武器装备科研生产许可)。

  管理体系认证:ISO9001质量管理体系认证、GB/T50430建筑施工行业规范、ISO28000供应链安全管理体系、IS020000信息技术管理体系、ATF16949汽车质量管理体系、ISO14001环境管理体系认证、IS022000食品安全管理体系、IS022301业务连续性管理体系、ISO50001能源管理体系认证、HACCP危害分析与关键控制点认证、ISO45001职业健康安全管理体系、ISO13485医疗器械质量管理体系、IS027001信息安全管理体系、IS037001反贿赂管理体系认证、团体标准参编。

  数字化建设:ERP管理系统、企业官网定制站、行业定制网站开发、行业定制APP开发、CRM管理系统、全能定制高端站、人才招聘系统、行业定制小程序开发、域名注册备案、数字证书(SSL)、企业邮箱开通、巨商网盘系统、网站/小程序开发及部署、云服务器资源(阿里/腾讯/华为)、HBR管理系统、智慧园区管理平台、支付/短信/实人认证/工商等各类接口资源、APP开发/上架、区块链开发/上链、OA管理系统、EAM资产系统、知识付费系统、一物一码溯源防伪系统、巨商SaaS客服管理系统、巨商SaaS版本CRM系统。